今日中国再生资源废钢价格指数为2200元/吨,较上一个工作日上涨0.4元/吨,望废钢厂家密切关注价格指数变化,谨慎交易。

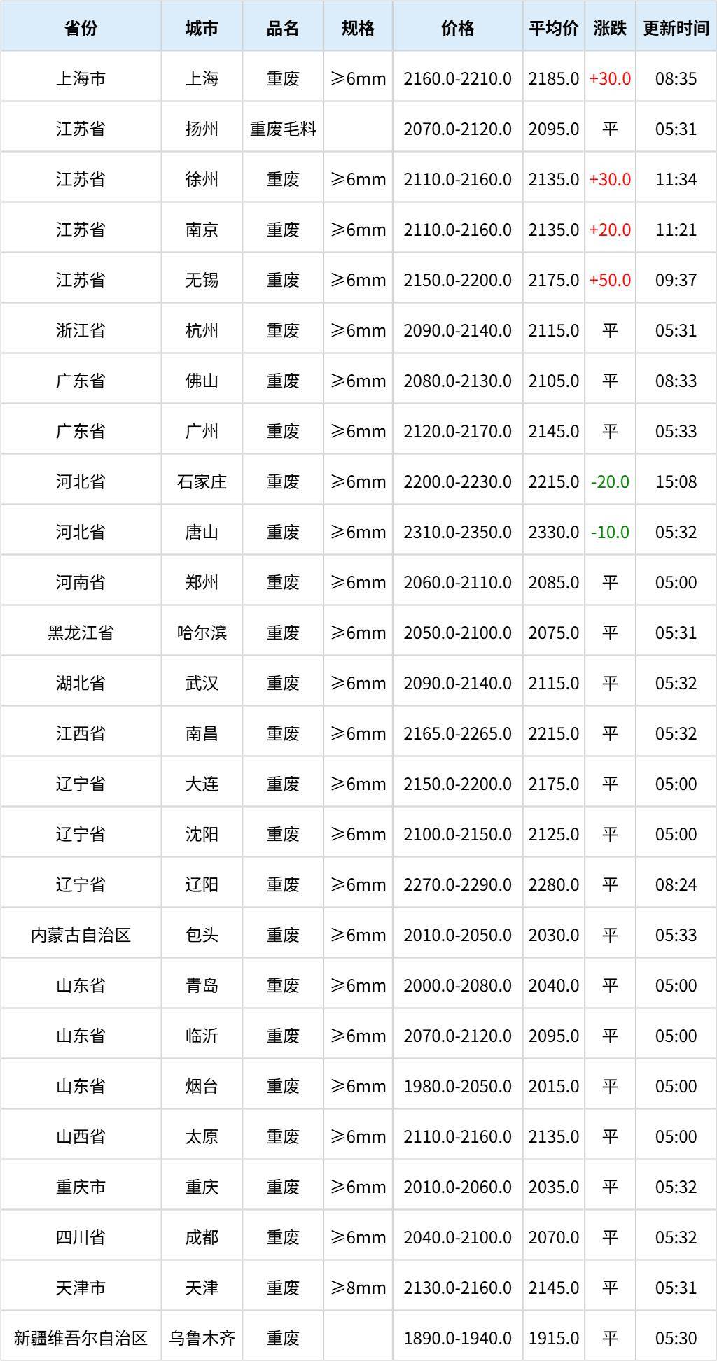
2月3日全国各地废钢价格行情一览

PART.002
废纸日报
今日中国再生资源废纸价格指数为1630元/吨,与上一个工作日相比下调1元/吨。望当地废纸商家密切关注价格走势,谨慎操作!


PART.003
废铝日报
废铝:今日中国再生资源废铝价格为16900元/吨。望当地废铝商家密切关注价格走势,谨慎操作!

2月3日全国各地废铝价格行情一览

PART.004
废铜日报
废铜:今日中国再生资源废铜价格为89000元/吨。望当地废铜商家密切关注价格走势,谨慎操作!

2月3日全国各地废铜价格行情一览

中国再生资源价格指数说明
为方便相关政府部门、科研机构及国内外再生资源企事业单位更好地了解中国再生资源价格、内外再生资源品种价差,中国再生资源回收利用协会推出中国再生资源价格指数。
目前中国再生资源价格指数已经生成,中国再生资源废钢价格指数、废铜价格指数、废铝价格、废纸指数、废家电指数五大指数。
废钢价格指数说明
指数主要反映发布当天的国内重废(厚度≥6)的废钢铁平均采购价格水平。该指数是以全国主要产钢省的重废采购价为基础,经加权校准,最终产生。
废铜价格指数说明
指数主要反映发布当天的国内光亮线(含量≥99%)的废铜平均采购价格水平。该指数是以全国主要废铜消费省的光亮线采购价为基础,经加权校准,最终产生。
废铝价格指数说明
指数主要反映发布当天的国内机生铝(含量 Fe<2%)的废铝平均采购价格水平。该指数是以全国主要废铝消费省的机生铝采购价为基础,经加权校准,最终产生。
信息来源 ·
再生资源信息网
发布时间 ·